Desarrollo de producto en carpintería y mueble

chevron_left
chevron_right
Todo
Apuntes
chevron_left
chevron_right

apuntes

-

Trabajo final

Reforma, presupuesto, planos, render, memoria, estudio de mercado. Trabajo en grupo, nota 9

Memoria-mueble-a-medida.pdf
Memoria-excel-presupuestos.pdf
Planos-y-hojas-de-ruta.pdf
PRESENTACION-REFORMA.pdf
Memoria.pdf

Memoria-area-de-trabajo.pdf

52 páginas

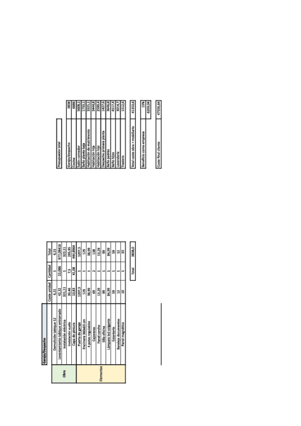
Excel para sacar los costes directos de producción (máquinas)

1 página

Estudio de mercado y desarrollo de producto. Nota 9

21 páginas

La nota creo que fue un 8

8 páginas

Primer trabajo de la asignatura. Hay que cubrir muchas cosas, creo recordar que me puso un 7

27 páginas
¡Estás al día!

¡Estás al día!

Has visto todos los archivos