Portada
Asignatura
Grado en Ingeniería en Tecnologías Industriales (UPM)
Dibujo Industrial I
Fecha de subida
24 oct 2016
Categoría
examenes
Etiquetas
Apuntes - Dibujo I: Todo el Temario.pdf
pdf
16 páginas
322
13
Exámenes - EXAMENES-RESUELTOS-DIBUJO-I.pdf
142 páginas
502
5
Exámenes - 4JUL13.pdf
8 páginas
446
0
Exámenes - ejercicios-intersecciones-y-conjuntos.pdf
9 páginas
335
2
Exámenes - PEC120-21todo.pdf
22 páginas
330
3
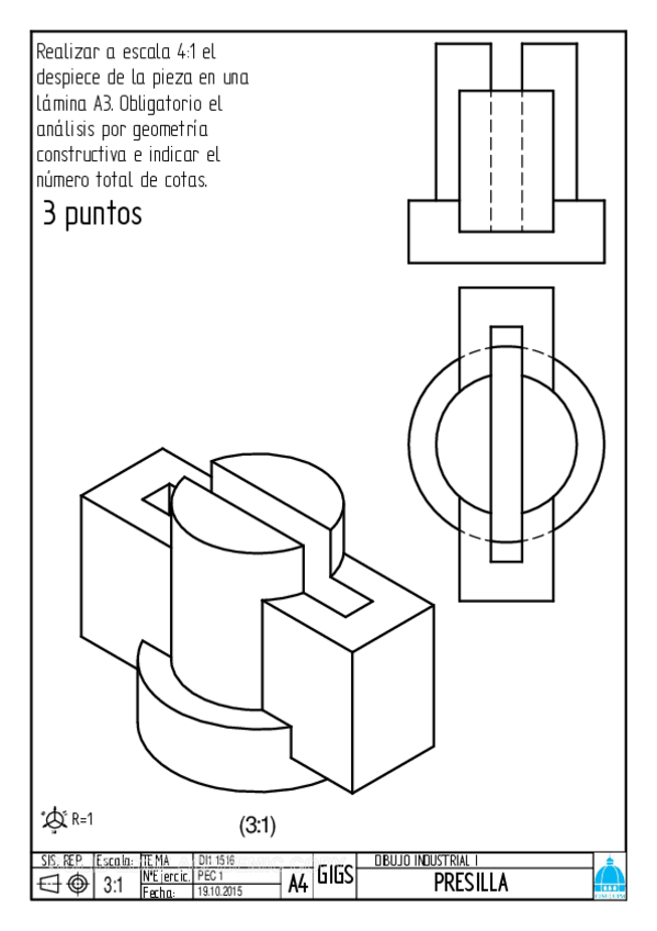
Exámenes - DI1_1516_PEC_1_Sol.pdf
12 páginas
324
Apuntes - Acotación .docx
docx
35
Apuntes - GITI-1-CURSO-DIBUJO-INDUSTRIAL-I.pdf
54 páginas
244
Apuntes - COTAS-PEC1.pdf
3 páginas
431
6
Apuntes - COTAS-PE-2.pdf
253
Apuntes - Intersecciones-y-E.pdf
2 páginas
202
Apuntes - Imprescindible.pdf
233
Apuntes - Apuntes-Dibujo-I-ordenados-por-temas.pdf
108
Apuntes - COTAS-PEC3.pdf
4 páginas
229
Apuntes - FORMULARIO-RESUMEN-DIBUJO-I.pdf
152
12
Apuntes - DI1M31314ControlSolJMC.pdf
13 páginas
221
1
Exámenes - DI1_1415_Prueba_2_Sol.pdf
10 páginas
255
Exámenes - 13ENE14.pdf
7 páginas
245
Apuntes - Tablas-normalizacion.pdf
57 páginas
103
Apuntes - Teoriaacotar.pdf
184