Todo
Apuntes
Preguntas
Ejercicios
Exámenes
Otros
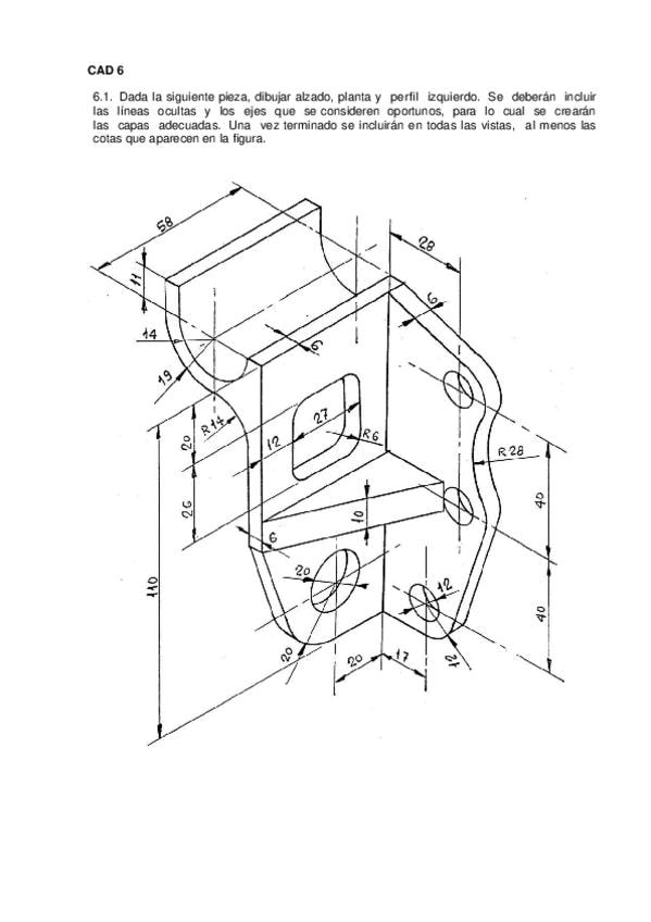
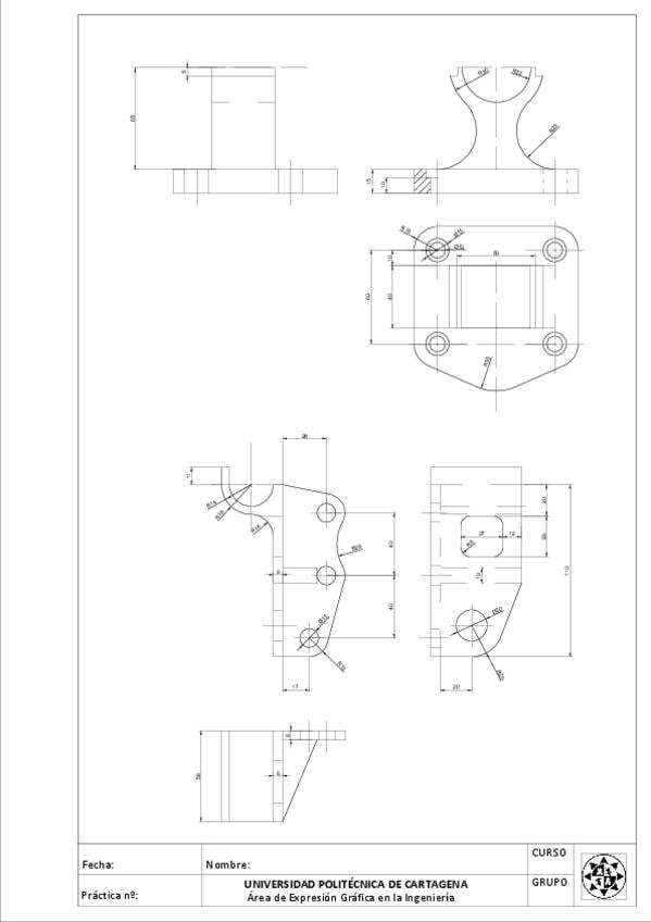
Prácticas
publication
Test
Trabajos
chevron_left
chevron_right

He publicado nuevos apuntes de 1º Expresión Gráfica: Apuntes-axonometrico-ortogonal.pdf

13 páginas

diedrico

Anónimo

@Anónimo

Tolerancias típicas examen normalizado

1 página

Aquí están todos los apuntes de Expresión Grafica, con la teoría de como resolver los ejercicios y ejemplos de dibujos

58 páginas

He publicado nuevos ejercicios de 1º Expresión Gráfica: Marcos-normalizacion.dwg

Miniatura no disponible
Anónimo

@Anónimo

He publicado nuevos apuntes de 1º Expresión Gráfica: Teoria-Exp.-Graficas. 1-6Semana.pdf.pdf

11 páginas
Anónimo

@Anónimo

He publicado nuevos examenes de 1º Expresión Gráfica: Control1solucionimp.pdf

1 página
Anónimo

@Anónimo

He publicado nuevos examenes de 1º Expresión Gráfica: Control1Teo20251120IngDisenoCroquis.pdf

1 página

He publicado nuevos apuntes de 1º Expresión Gráfica: Ejercicio-2-practica-12.pdf

1 página

He publicado nuevos practicas de 1º Expresión Gráfica: Ejercicio-3-practica-12.pdf

1 página

He publicado nuevos practicas de 1º Expresión Gráfica: Ejercicio-3-practica-11.pdf

1 página

He publicado nuevos practicas de 1º Expresión Gráfica: Ejercicio-1-practica-11.pdf

1 página

practicas

-

Prácticas

He publicado nuevos practicas de 1º Expresión Gráfica: Prácticas

1.pdf
2.pdf
3.1.pdf
3.2.pdf
4.pdf
5.pdf
Anónimo

@Anónimo

He publicado unos apuntes de conceptos básicos de diédrico

30 páginas

examenes

-

Solución Planos Acotados 2023

A petición de un alumno comparto mi solución al examen de planos acotados de la asignatura de Expresión Gráfica de primero de la Universidad Politécnica de Madrid en los grados de Ingeniería Agronómica, Alimentaria y de Biosistemas. Este examen correspond

Miniatura no disponible
https://nataliasanchezprietoprofededibujo.blogspot.com/2025/12/mi-solucion-al-examen-de-expresion.html
missolucionesplanos-acotados-agronomos-bio-alimentaria-UPM-Enero-2023.pdf
Mi solución al examen de Expresión Gráfica de la UPM Enero 2023 Planos acotados Ingeniería Agronómica, Alimentaria y de Biosistemas

examenes

-

Soluciones cuarto parcial del curso 24 - 25 (Grupo Tarde)

He publicado nuevos examenes de 1º Expresión Gráfica: Soluciones cuarto parcial del curso 24 - 25 (Grupo Tarde)

Ejercicio-1.png
Ejercicio-2-Enunciado.png
Ejercicio-2-Resuelto.png

He publicado nuevos apuntes de 1º Expresión Gráfica: Apuntes-conicas.pdf

3 páginas

He publicado nuevos apuntes de 1º Expresión Gráfica: Lamina-41-terminada.pdf

2 páginas

He publicado nuevos apuntes de 1º Expresión Gráfica: Laminas-conicas.pdf

3 páginas

examenes

-

RECOPILACIÓN DE EXAMENES CON SOLUCIÓN

He publicado nuevos examenes de 1º Expresión Gráfica: RECOPILACIÓN DE EXAMENES CON SOLUCIÓN

Julio-21.pdf
Parcial-1-21.pdf
Mayo-23.pdf
UC3MEXAMS.pdf

He publicado nuevos practicas de 2º Expresión Gráfica: CURSO-COMPLETO-DE-DIBUJO-PARA-COMICS.pdf

59 páginas

He publicado nuevos apuntes de 1º Expresión Gráfica: isometricos.pdf

4 páginas

He publicado nuevos apuntes de 1º Expresión Gráfica: Ejercicios-clasecompressed.pdf

1 página

He publicado nuevos apuntes de 1º Expresión Gráfica: Lamina-25-PCA.pdf

1 página

He publicado nuevos apuntes de 1º Expresión Gráfica: 26-y-29.pdf

2 páginas

He publicado nuevos apuntes de 1º Expresión Gráfica: Lamina-43.pdf

1 página

apuntes

-

Transformación de terrenos

Estas hojas de teoría corresponden a la cuarta prueba.

Pagina-1.png
Pagina-2.png
Pagina-3.png
Pagina-4.png

apuntes

-

Circunferencia, esfera, conos y cilindros

Estos apuntes pertenecen a la teoría de la prueba 4.

Pagina-1.png
Pagina-2.png
Pagina-3.png

apuntes

-

Expresión Grafica

Apuntes sobre la teoría para el examen escrito de expresión gráfica

TEMA-1.pdf
TEMA-3.pdf
TEMA-4.pdf
TEMA-5.pdf
TEMA-6.pdf
TEMA-8.pdf

Temas 10 y 11

3 páginas

Temas del 3 al 8

21 páginas

Parte 2

6 páginas

Parte 1

6 páginas

examenes

-

Solución 3º Examen curso 25 - 26 (Grupo Mañana)

El primer ejercicio es el 17 del cuadernillo y el segundo ejercicio es el 24 del cuadernillo.

Ejercicio-1.-Prueba-3.png
Ejercicio-2.-Prueba-3.png

examenes

-

Solución 3º Examen curso 25 - 26 (Grupo Tarde)

El primer ejercicio es el 19 del cuadernillo y el segundo ejercicio es el 25 del cuadernillo.

Ejercicio-1.-Prueba-3.png
Ejercicio-2.-Prueba-3.png
Anónimo

@Anónimo

Examen Tema 3 basado en los ejercicios 25/26

2 páginas
Anónimo

@Anónimo

Ejercicios que cayeron en el examen T-3 25-26

2 páginas
Anónimo

@Anónimo

Apuntes del Autor A. Rodríguez Álvarez sobre el Tema de Planos acotados

49 páginas

ejercicios

-

Cuadernillo Geometría Plana (Resuelto)

Aquí están resueltos los ejercicios del 17 al 33.

Ejercicio-17-Resuelto.png
Ejercicio-18-Resuelto.png
Ejercicio-19-Resuelto.png
Ejercicio-20-Resuelto.png
Ejercicio-21-Resuelto.png
Ejercicio-22-Resuelto.png

ejercicios

-

Cuadernillo Geometría Plana (Resuelto)

Están resueltos los ejercicios del 1 al 16.

Ejercicio-1-Resuelto.png
Ejercicio-2-Resuelto.png
Ejercicio-3-Resuelto.png
Ejercicio-4-Resuelto.png
Ejercicio-5-Resuelto.png
Ejercicio-6-Resuelto.png

He publicado nuevos apuntes de 1º Expresión Gráfica: APUNTES-EG-TTN.pdf

15 páginas

He publicado nuevos examenes de 1º Expresión Gráfica: TTG-TODAS-LAS-PREGUNTAS.pdf

6 páginas

Ejercicios resuleltos algunos paso a paso

27 páginas

Apuntes de planos acotados similar a un libro

11 páginas

examenes

-

Solución Tercer parcial curso 24 - 25 (Grupo Tarde)

El ejercicio 1 corresponde al ejercicio 17 del cuadernillo y el ejercicio 2 corresponde al ejercicio 24 del cuadernillo.

Ejercicio-1-Enunciado.png
Ejercicio-1-Solucion.png
Ejercicio-2-Enunciado.png
Ejercicio-2-Solucion.jpg

examenes

-

Solución Tercer parcial curso 24 - 25 (Grupo Mañana)

El ejercicio 1 corresponde al ejercicio 19 del cuadernillo y el ejercicio 2 corresponde al ejercicio 34 del cuadernillo.

Ejercicio-1.png
Ejercicio-1-Solucion.png
Ejercicio-2.png
Ejercicio-2-Solucion.png

He publicado nuevos apuntes de 1º Expresión Gráfica: seminariogrupos-copia.dwg

Miniatura no disponible

He publicado nuevos apuntes de 1º Expresión Gráfica: seminarioa-copia.dwg

Miniatura no disponible

He publicado nuevos apuntes de 1º Expresión Gráfica: seminariob-copia.dwg

Miniatura no disponible

examenes

-

EXAMEN EXPRESIÓN GRÁFICA

Examen de Expresión Gráfica

MATEO-MORONO-SOUTO-EXAMEN-SOUTO-22.05.2025.pdf
Miniatura no disponible
EXAMEN-JUNIO-2025.dwg
Miniatura no disponible
MATEO-MORONO-SOUTO-EXAMEN-ELENA-ARCE-22.05.2025.dwg
MATEO-MORONO-SOUTO-EXAMEN-ELENA-ARCE-22.05.2025.pdf
Miniatura no disponible
MATEO-MORONO-SOUTO-EXAMEN-SOUTO-22.05.2025.dwg

ejercicios

-

EJERCICIOS FUSION GRÁFICA

Ejercicios realizados en Fusion360 para Expresión Gráfica

Miniatura no disponible
Fig.-73-74-Ejercicios-2D-Fusion-360-31.01.2025-Mateo-Morono-Souto.f3d
Miniatura no disponible
Fig.-68-Ejercicios-2D-Fusion-360-31.01.2025-Mateo-Morono-Souto.f3d
Miniatura no disponible
Fig.-69-Ejercicios-2D-Fusion-360-31.01.2025-Mateo-Morono-Souto.f3d
Miniatura no disponible
Fig.-70-Ejercicios-2D-Fusion-360-31.01.2025-Mateo-Morono-Souto.f3d
Miniatura no disponible
Fig.-71-Ejercicios-2D-Fusion-360-31.01.2025-Mateo-Morono-Souto.f3d
Miniatura no disponible
Fig.-72-Ejercicios-2D-Fusion-360-31.01.2025-Mateo-Morono-Souto.f3d

Ejercicios gráfica AutoCAD - Prof. Souto

24 páginas

ejercicios

-

EJERCICIOS GRÁFICA

Ejercicios de expresión gráfica realizados en AutoCAD

Miniatura no disponible
PRACTICA-3-2D-MATEO-MORONO-SOUTO-11.04.2025.dwg
PRACTICA-3-2D-MATEO-MORONO-SOUTO-11.04.2025-Presentacion1.pdf
Miniatura no disponible
PRACTICA-4-2D-MATEO-MORONO-SOUTO-22.04.2025.dwg
PRACTICA-4-2D-MATEO-MORONO-SOUTO-22.04.2025.pdf
Miniatura no disponible
PRACTICA-5-2D-MATEO-MORONO-SOUTO-06.05.2025.dwg
PRACTICA-5-2D-MATEO-MORONO-SOUTO-06.05.2025.pdf

apuntes

-

Apuntes Expresión Gráfica

Apuntes en inglés para el primer parcial. Contiene los siguientes temas: Basic conventions, Conventional views, Non-conventional views, Cuts y Sections.

1st-midterm-exam.pdf

examenes

-

Solución segundo parcial del curso 25 - 26 (repesca)

El primer ejercicio corresponde al ejercicio 16 del cuadernillo y el segundo ejercicio corresponde al ejercicio 26 del cuadernillo.

Ejercicio-1-Enunciado.png
Solucion-ejercicio-1.png
Ejercicio-2-Enunciado.png
Solucion-ejercicio-2.png

examenes

-

Solución segundo examen parcial del curso 25 - 26

El ejercicio 1 corresponde al ejercicio 14 del cuadernillo y el ejercicio 2 corresponde al ejercicio 19 del cuadernillo

Ejercicio-1-Enunciado.png
Ejercicio-1-Solucion.png
Ejercicio-2-Enunciado.png
Ejercicio-2-Solucion.png

He publicado nuevos apuntes de 1º Expresión Gráfica: Proyeccion-horizontal.pdf

4 páginas

examenes

-

EXAMENES OTROS AÑOS 1 PARCIAL

He publicado nuevos examenes de 1º Expresión Gráfica: EXAMENES OTROS AÑOS 1 PARCIAL

AXO-1.pdf
AXO-2.pdf
AXO-3.pdf
AXO-4.pdf
AXO-5.pdf
AXO-6.pdf