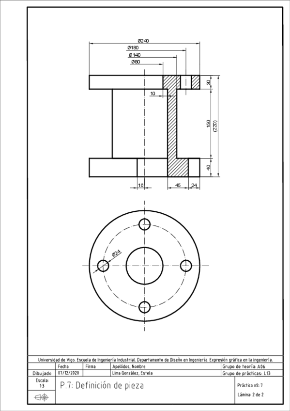
Practica72de2.pdf

st3llar1s

Soluciones Prácticas

13 archivos·

Practica-10-Valvula-1.pdf

Practica-5-Vistas-Formas-cilindricas.pdf

Practica-1-Normalizacion-en-dibujos-tecnicos.pdf

Practica-5-Vistas-Escalas.pdf

Practica-10-Valvula-2.pdf

Practica-4-Vistas-auxiliares-Corregido.pdf

Practica-10-Valvula-3.pdf

Practica-2-Vistas-de-una-pieza-sistema-europeo.pdf

Practica-4.pdf

Practica-10-Valvula-4.pdf

Practica81de1.pdf

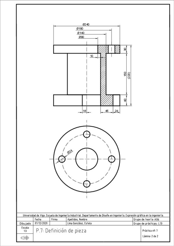
Practica72de2.pdf

Practica71de2.pdf

content_copy

Archivos recomendados