5-Util-fijacion-soporte-superior.pdf

guillemcano14

plano útil fijación completo

11 archivos·

CUNA-DE-FIJACION.pdf

1 página

SOPORTE-INFERIOR.pdf

1 página

SOPORTE-SUPERIOR.pdf

1 página

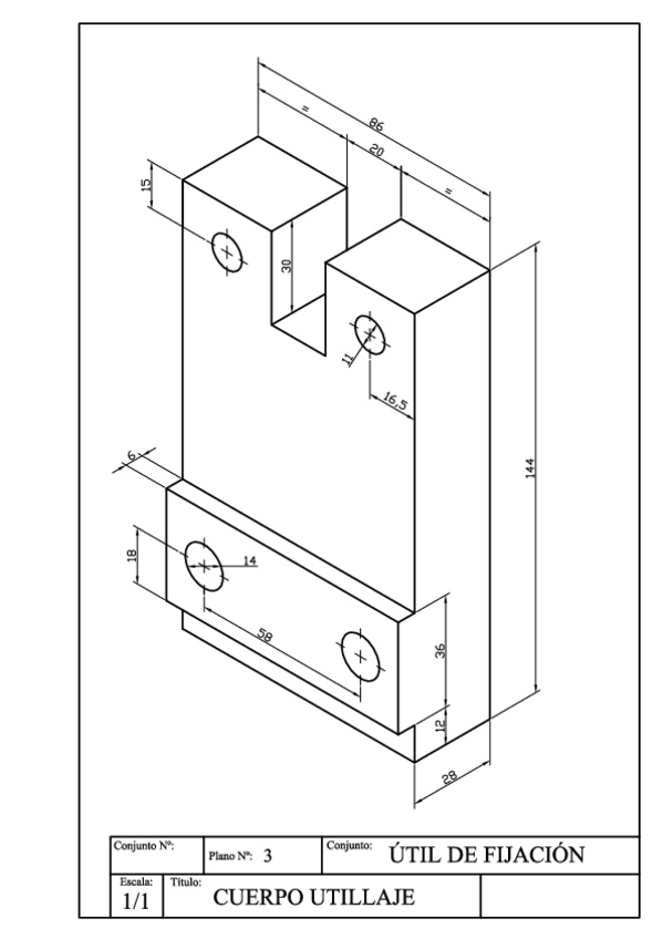
CUERPO-UTILLAJE.pdf

1 página

CONJUNTO-UTIL-FIJACION.pdf

1 página

COMPRIMIDO-CONJUNTO-UTIL-FIJACION.pdf

5 páginas

3-Util-de-fijacion-cuerpo-utillaje.pdf

1 página

1-Util-fijacion-soporte-inferior.pdf

1 página

9-Util-de-fijacion-cuna-fijacion.pdf

1 página

0-Uitl-fijacion-Cjto.pdf

1 página

5-Util-fijacion-soporte-superior.pdf

1 página

content_copy

Archivos recomendados