Anónimo
Portada
Asignatura
Grado en Ingeniería de Diseño Industrial y Desarrollo del Producto (UNIZAR)
Expresión Gráfica II
Fecha de subida
09 abr 2016
Categoría
examenes
Etiquetas
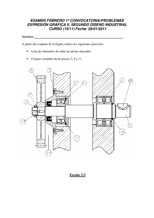
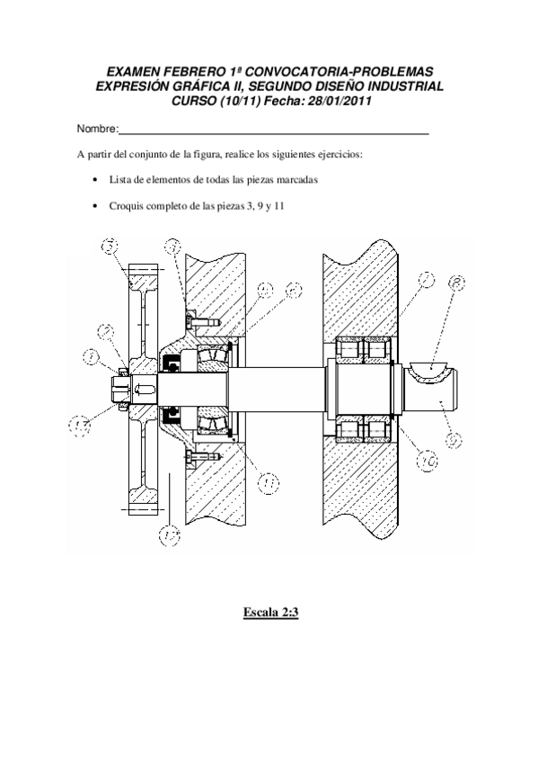
Exámenes - Examen_feb2011_resuelto.pdf
pdf
5 páginas
193
1
Exámenes - Febrero-2019.pdf
6 páginas
263
3
Exámenes - Enero-2017.pdf
3 páginas
247
5
Apuntes - HOJAS-EXAMEN.pdf
8 páginas
143
6
Apuntes - Apuntes-hojas-examen-grafica.pdf
9 páginas
204
0
Exámenes - Exámenes Resueltos.pdf
17 páginas
159
4
Exámenes - Septiembre-2018.pdf
174
Apuntes - HOJAS-EGII.pdf
10 páginas
199
Exámenes - Septiembre-2019.pdf
4 páginas
191
Apuntes - Hojas basicas para examen.pdf
134
Apuntes - Búsqueda en el prontuario.pdf
119
Exámenes - febrero_2012_resuelto.pdf
114
Exámenes - EXAMENES RESUELTOS.pdf
23 páginas
132
Exámenes - Enero-2018.pdf
169
Apuntes - RESUMEN WUOLAH EXPRESIÓN GRÁFICA.pdf
32 páginas
Exámenes - Examen resuelto.pdf
128
Exámenes - Examen-FEB-2024-Expresion-grafica-II.pdf
7 páginas
144
2
Apuntes - ExamenesEjercicios-clase.pdf
19 páginas
116
Exámenes - EXÁMENES RESUELTOS TEORÍA ALBA.pdf
24 páginas
112
Exámenes - Septiembre-2016.pdf
2 páginas
146