@deepl
Estudios: Grado en Ingeniería Mecánica (UMH)
2 Publicaciones
117 Interacciones
0 Seguidores
0 Siguiendo
Lista de publicaciones de deepl
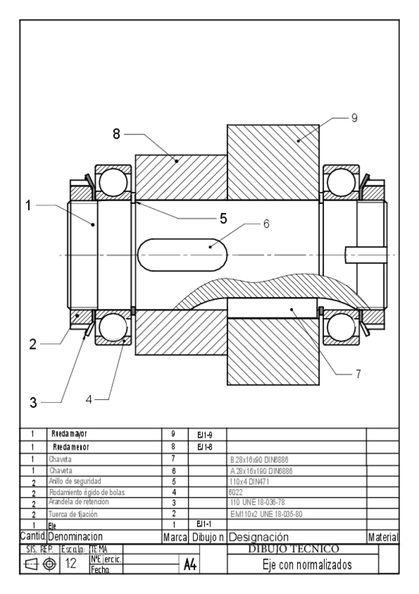
Formulario para el parcial con ejemplos de ejercicios que se pueden usar de guía en el examen
He publicado nuevos examenes de 1º Dibujo Técnico: Examen-Bloque-3-2024.pdf