@todoapuntes17

14.76 € • 6.37k EXP

Bio: Soy estudiante de la Universidad Rey Juan Carlos de Madrid. Saqué un 9,88 en Segundo de Bachillerato y un 13'4 en la EVAU 2022: LENGUA (9), HISTORIA DE ESPAÑA (10), INGLÉS (8), MATEMÁTICAS (9,75), FÍSICA (9) Y Dibujo Técnico (9,5). En mi perfil encontraréis mis apuntes.

200 Publicaciones

2k Interacciones

7 Seguidores

1 Siguiendo

Lista de publicaciones de todoapuntes17

He publicado nuevos apuntes de 1º Introducción a la Empresa: Tema-3.pdf

9 páginas

He publicado nuevos apuntes de 1º Introducción a la Empresa: EL-ENTORNO-DE-LA-EMPRESA.pdf

5 páginas

He publicado nuevos apuntes de 1º hISTORIA DE LA AVIACIÓN: Tema-1.pdf

9 páginas

He publicado nuevos apuntes de 5º Reconocimiento Académico de Créditos: RACC-Accesibilidad-Universal-y-Diseno-para-todos.pdf

6 páginas

He publicado nuevos apuntes de 5º Reconocimiento Académico de Créditos: RACC-Mejora-de-la-empleabilidad.pdf

8 páginas

He publicado nuevos apuntes de 1º Introducción a la Empresa: Tema-1-redactado.pdf

8 páginas

Bachillerato de Ciencias y Tecnología

11 páginas

apuntes

-

Normalización

Bachillerato de Ciencias y Tecnología

normalizacion-I.pdf
NORMALIZACION-II-1.pdf
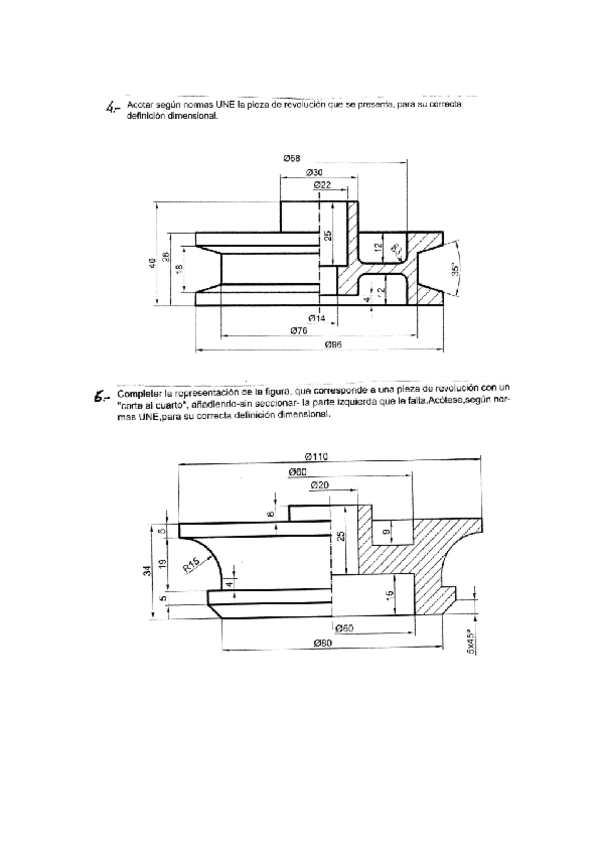
ACOTACION.pdf
CORTES-SECCIONES-ROTURAS.pdf

Bachillerato de Ciencias y Tecnología

4 páginas

Bachillerato de Ciencias y Tecnología

12 páginas

apuntes

-

Axonométrico

Bachillerato de Ciencias y Tecnología

T14SRAXONOMETRICO-I.pdf
T162CABALLERA-1-1.pdf
SRAXOINTERSECCIONES.pdf

Bachillerato de Ciencias y Tecnología

13 páginas

Bachillerato de Ciencias y Tecnología

4 páginas

Bachillerato de Ciencias y Tecnología

5 páginas

Bachillerato de Ciencias y Tecnología

35 páginas

ejercicios

-

Abatimientos y Diédrico Evau

Bachillerato de Ciencias y Tecnología

abatimientos-ejercicios.pdf
Ejercicios-Diedrico-EVAU.pdf

ejercicios

-

Paralelismo y perpendicularidad

Bachillerato de Ciencias y Tecnología

diedrico-paralelismo.pdf
diedrico-perpendicularidad.pdf

Bachillerato de Ciencias y Tecnología

4 páginas

ejercicios

-

Cónicas-intersecciones-tangencias

Bachillerato de Ciencias y Tecnología

curvas-conicas-tangencias-1.pdf
curvas-conicas-pau-1.pdf
curvas-conicas-intersecciones-1.pdf
conicas.pdf

apuntes

-

Inversión y tangencias

Bachillerato de Ciencias y Tecnología

inversion-fundamentales-1.pdf
TANGENCIAS-IIINVERSION.pdf