@Tropicalia

16 Publicaciones

4.25k Interacciones

0 Seguidores

0 Siguiendo

Lista de publicaciones de Tropicalia

He publicado nuevos test de 1º Ingeniería del Medio Ambiente: IMA_COMPLETO.pdf

91 páginas

He publicado nuevos examenes de 1º Ingeniería del Medio Ambiente: IMA_COMPLETO.pdf

91 páginas

He publicado nuevos test de 1º Ingeniería del Medio Ambiente: Resumen_Cuestionarios_Resueltos.pdf

11 páginas

He publicado nuevos apuntes de 1º Ingeniería del Medio Ambiente: Cuestionarios RESUELTOS IMA.pdf

14 páginas

He publicado nuevos examenes de 1º Ingeniería del Medio Ambiente: Cuestionarios RESUELTOS IMA.pdf

14 páginas

He publicado nuevos apuntes de 1º Expresión Gráfica y Diseño Asistido Por Ordenador: Normalizacion Problemas y Soluciones.pdf

40 páginas

He publicado nuevos apuntes de 1º Expresión Gráfica y Diseño Asistido Por Ordenador: Pruebas Tuteladas.pdf

40 páginas

He publicado nuevos examenes de 1º Expresión Gráfica y Diseño Asistido Por Ordenador: Examenes_Resueltos.pdf

17 páginas

He publicado nuevos ejercicios de 1º Expresión Gráfica y Diseño Asistido Por Ordenador: SISTEMA ACOTADO.pdf

35 páginas

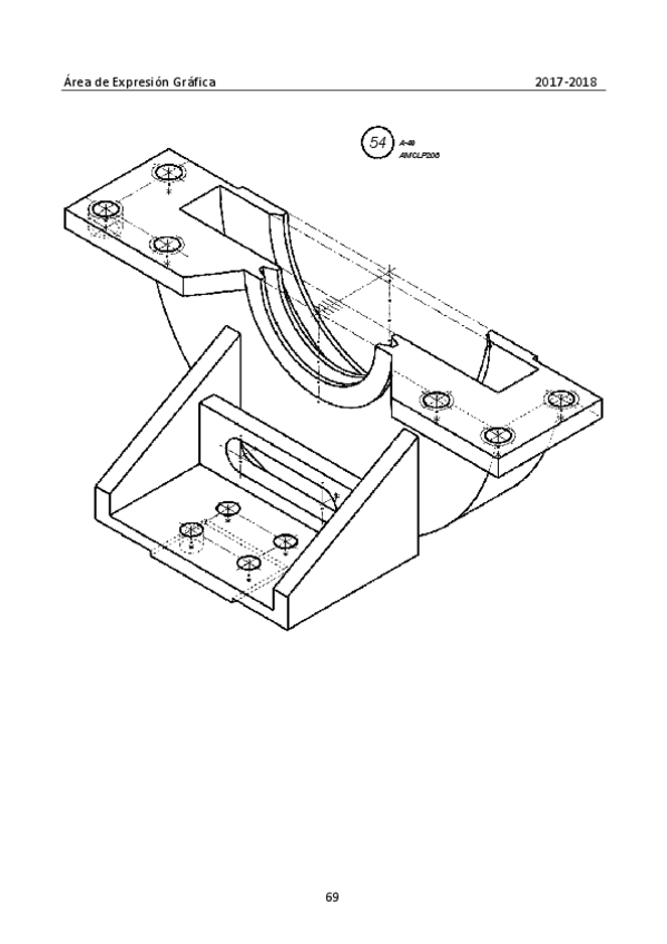
He publicado nuevos ejercicios de 1º Expresión Gráfica y Diseño Asistido Por Ordenador: CORTES.pdf

66 páginas

He publicado nuevos apuntes de 1º Expresión Gráfica y Diseño Asistido Por Ordenador: SISTEMA ACOTADO.pdf

35 páginas

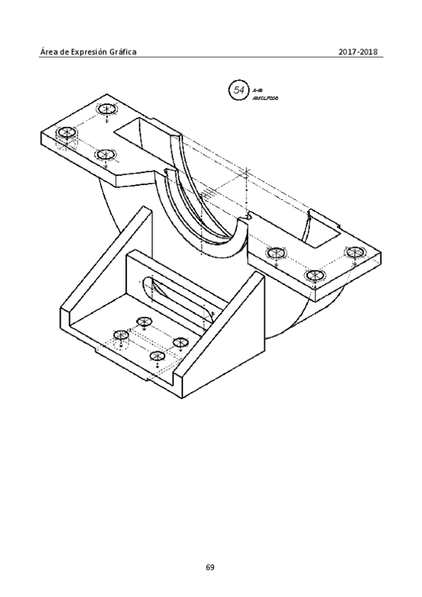
He publicado nuevos ejercicios de 1º Expresión Gráfica y Diseño Asistido Por Ordenador: CORTES.pdf

66 páginas

He publicado nuevos ejercicios de 1º Expresión Gráfica y Diseño Asistido Por Ordenador: ACOTACIÓN.pdf

46 páginas

He publicado nuevos ejercicios de 1º Expresión Gráfica y Diseño Asistido Por Ordenador: SUPERFICIES.pdf

55 páginas

He publicado nuevos ejercicios de 1º Expresión Gráfica y Diseño Asistido Por Ordenador: Ejercicios Resueltos.pdf

237 páginas

He publicado nuevos ejercicios de 1º Expresión Gráfica y Diseño Asistido Por Ordenador: Ejercicios Resueltos.pdf

237 páginas